- -5%
- BLACK LIGHT
Applique murale LED chromée pour miroir de salle de bain de la collection Eglo Pandella 1, elle est disponible en 3 dimensions, il faut sélectionner celle qui convient le mieux aux mensurations de notre miroir. Dans les 3 modèles, le ton de la lumière est une lumière naturelle de 4000K et comprend IP44 qui lui permet d'être installé dans des zones humides comme une salle de bain, la garantie de cette applique murale LED est de 5 ans. Vous pouvez voir les dimensions de 3 appliques LED sur les photos correspondantes.
Dimensions Petit 7.4W : ↔ 40Cm | ↕ 4cm, 900 Lumens avec une tonalité de lumière naturelle.
Dimensions Moyenne 11W : ↔ 60Cm | ↕ 4 cm, 1 350 lumens avec un ton de lumière naturelle.
Dimensions Grand 14W : ↔ 78Cm | ↕ 4 cm, 1 700 lumens avec un ton de lumière naturelle.
La nouvelle applique murale LED chromée pour miroir de salle de bain de la collection Pandella 1 a une finition chromée et est disponible en 3 puissances, la plus petite applique murale LED a une puissance de 7,4W et une intensité lumineuse de 900Lm, le modèle moyen Elle a une puissance de 11W et une intensité lumineuse de 1350Lm et enfin le plus grand modèle de la collection qui offre 14W de puissance avec une intensité lumineuse de 1700Lm. La tonalité de lumière offerte par cette applique murale LED est de 4000K (lumière naturelle), la tonalité de lumière la plus recommandée pour l'éclairage de la salle de bain.
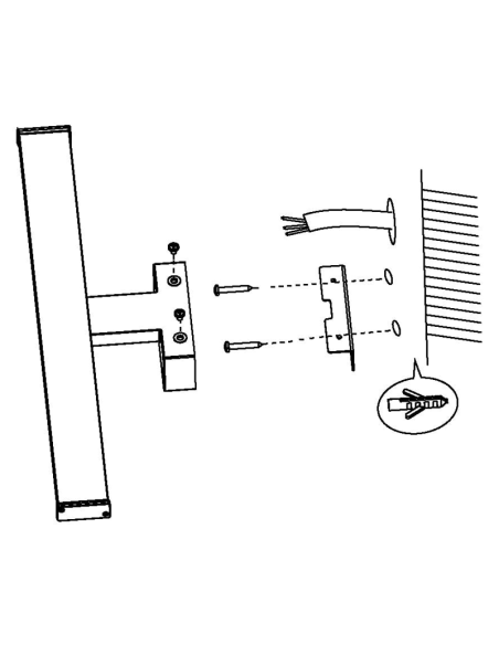
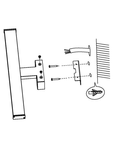
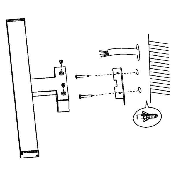
Cette applique murale LED chromée pour miroir de salle de bain de la collection Pandella 1 est fabriquée en aluminium de haute qualité, offre un degré de protection contre l'eau et la poussière de IP44, idéale pour une installation dans des zones humides comme une salle de bain. Sélectionnez l' applique murale LED chrome pour miroir de salle de bain qui convient le mieux aux dimensions de votre miroir et suivez le manuel d'instructions inclus à l'intérieur pour l'installer, il comprend également des chevilles et des vis pour l'installation.
Guide d'installation de cette Applique LED Pandella 1 Chrome :
